Ha azt hitted a nőknek csak a konyhában és a gyerekek mellett a helyük, súlyos tévedésben vagy! Mutatok neked most olyan találmányokat, amelyek ha hiszed, ha nem, nőktől származnak. Sokan közülük nem egy, hanem 50, de még 125 szabadalommal is rendelkeztek életük során! Ami még érdekesebb, nem csak a gyereknevelés vagy háztartás területén könnyítették meg ezek a találmányok az életünket, hanem az ipar különböző területein.
Hidd el, le fog esni az állad ezektől a nőktől!
Grace Hopper: IBM-Harvard Mark 1
Dr. Grace Murray Hopper admirális találta fel az úgynevezett “anya számítógépet”! A második világháború után, Hopper a Harvardon állomásozott, ahol az IBM-Harvard Mark 1, az első nagyszabású számítógépes rendszer fejlesztésén dolgozott, az USA-ban. Dr. Hopper találta fel azt a fordítóprogramot, ami a írott nyelvet a számítógépbe kódolja. Ő alkotta meg a “bug”kifejezést, a számítógépes probléma jelzéseként, és együttműködésben kifejlesztette a COBOL-t, az első felhasználó-barát üzleti számítógépes szoftvert. Több díjat nyert, többek között a National Medal of Technology-t 1991-ben. Mire elhunyt, Dr. Hopper 30 egyetemen kapott tiszteletbeli diplomát.
Mary Anderson: Az ablaktörlő
El tudod képzelni, hogy a korai 1900-as években, milyen volt, ha esett az eső vagy a hó? A járművezetőknek meg kellett állni minden háztömbnél, hogy letöröljék a szélvédőt! Mary Anderson megoldotta ezt a problémát. Bár az autók ritkák voltak abban az időben, Anderson látott egy hirdetményt erről a helyzetről, gondolkodott egy kicsit, és 1903-ban feltalálta az ablaktörlőt. Ez a zseniális találmány lehetővé tette azt, hogy az autó belsejében egy fogantyút elmozdítva, a lapátok máris tisztára söpörjék a szélvédőt. Az emberek kezdetben ellenkeztek mondván, hogy a furfangos Anderson-ablaktörlők megzavarják a járművezetőket, de 10 évvel azután, hogy szabadalmaztatta az eszközt, szinte minden autós használta a találmányát. Tudtad, hogy az is egy nő volt aki 1917-ben szabadalmaztatta az automata ablaktörlőt? Ő volt Charlotte Bridgwood és az Ő “Storm /vihar/ szélvédő tiszító”-járól van szó!
Mary Phelps Jacob: A modern melltartó
Jacobs 1914-ben kapta meg a szabadalmat modern melltartójára. Az emberek már régen kísérleteztek ezzel, de az Ő ötlete, hogy “a mellek ketté választódjanak”, tette egyedivé ezt a darabot. Mary találmánya előtt a melltartók rendkívül kényelmetlenek voltak, mint minden más fehérnemű. Halcsontot, acél rudakat, tartalmaztak elődei. Jacobs melltartója lágy és könnyű volt, és követte viselőjének anatómiai felépítését. Az I.világháború alatt a melltartó tervezés népszerűvé vált, amikor az amerikai kormány azt kérte, hogy a nők hagyják abba a fűzők vásárlását a fém megőrzésének érdekében. Bár ebben az időben Jacobs már eladta szabadalmát a Warner Brothers Corset Company-nak.
Érdekes módszerrel mentettem meg egy nő a házasságát, kattints ide érte!
Josephine Cochrane: A mosogatógép
Josephinet rettentően idegesítette, hogy a háztartási alkalmazottai rendre törik a finom kínai porcelán tányérjait. Az általa feltalált mosogatógéphez nagy víznyomást használt, hogy a rácsra helyezett edényekről eltávolítsa az ételmaradékot. 1886-ban kapta meg a szabadalmat találmányára. Ebben a korban a legtöbb háznál még nem volt meleg víz rendszer, ezért Cochrane bevitte az ötletét a szállodákba és éttermekbe. Végül – miután egyre több nő ment el munkahelyekre dolgozni -, a mosogatógép beköltözött az életükbe. Közel egy időben egy magyar hölgy, dr. Simon Józsefné Csicsmanczay Emília is benyújtotta a szabadalmat.
Hedy Lamarr: A titkos kommunikációs rendszer
Hedy szabadalmaztatta a “Secret Communications Systems”-t 1941-ben. Ez nem más, mint torpedó rádió-távvezérlésére szolgáló adóberendezés. Lamarr – anyai ágon magyar – amerikában élő félig zsidó színésznő volt. Szülei hozzá adták egy náci szimpatizáns milliomos fegyvergyároshoz. Hedy sokat kupálódott mellette haditechnika területen. Egy idő után nem bírta férje ügyleteit Hitlerrel, ezért megszökött tőle és Londonba menekült, majd az USA-ba. A készülék lényege – melyet zongorista szomszédjával közösen talált fel -, hogy a ma frekvenciaugratásos adásmódnak nevezett módszer segítségével a torpedókat irányító rádiócsatornát megvédjék a felderítés és a zavarás ellen, amellyel biztosítható a tengeri célpontok ellen indított torpedók találati valószínűségének növelése. 1942.augusztusában szabadalmaztatták, majd felajánlották a haditengerészetnek, de Ők nem használták fel a háború során. Első alkalommal 1962-ben, a Kuba elleni tengeri blokád idején alkalmazták, a blokádban résztvevő hajókon. Az egyidejű frekvenciaváltást (frequency-hopping) napjainkban a mobiltelefon-rendszereknél, illetve bluetooth-kapcsolatoknál alkalmazzák. A haditengerészet csak 1985-ben tette hozzáférhetővé a civil alkalmazások számára.
Margaret Knight: A “Queen” papír táskák
1871-ben kapta meg a szabadalmat a négyzet alakú aljjal rendelkező papírzacskót gyártó gépéért. Egy fickó pert akasztott a nyakába, azt állította, hogy ellopta tőle az ötletet, és azt hozta fel a saját védelmében, hogy “egy nő soha nem tervez ilyen innovatív gépet”, de Margaret rajzokkal bizonyította, hogy a találmány valóban az övé, és meg is nyerte az ügyet. Knight feltalálói karrierjét 12 évesen kezdte, amikoris kifejlesztett egy “stop-motion” eszközt, amely azonnal megállította az ipari gépet, ha abban valami elakadt. Élete során, több mint 26 szabadalmat nyert meg.
Tabitha Babbitt: A körfűrész
Az 1800-as évek elején még két emberes volt a fűrészelés. Húzták-tolták, oda-vissza. De hála egy nőnek, a folyamat leegyszerűsödött 1813-ban. Tabitha Babbitt létrehozta a körfűrészt! Babbitt egyszerű életet élt a Massachusetts-i Shaker vallási szekta tagjaként, ahol a bútorkészítéshez szükséges eszközök újításán dolgozott. Babbitt soha nem kérte a szabadalmat találmányára.
Stephanie Kwolek: Golyóálló mellények
A golyóálló mellények anyagául is szolgáló kevlárt Stephanie Kwolek fejlesztette ki, a DuPont cég alkalmazásában. 1963-ban rájött, hogy a polimerek vagy rúd alakú molekulák szálai egy irányba sorakoznak. Ettől az anyag erősebb mint a többi, mert a molekulák rendezett kötegekben vannak jelen. Ez a megfigyelés segítette abban, hogy rájöjjön hogyan erősítheti meg tökéletesen a mellény anyagát. Tény, hogy az új anyag olyan erős volt, akár az acél! Kwolek technológiájának már függőhíd kábeleknél, sisakoknál, fékbetéteknél, síléceknél és kemping felszereléseknél is jó hasznát vesszük.
Rachel Zimmerman: Blissymbol nyomtató
Mi az a Blissymbol nyomtató? Ez egy szoftver, melyet egy 12 éves kanadai lány talált fel 1985-ben. A beszéd és a hallás, vagy az írás és az olvasás mellett a legtöbb telekommunikációs eszközhöz alapvető mozgási képesség is szükséges. Az emberek egy bizonyos csoportja nem rendelkezik ezekkel az alapvető képességekkel, ezáltal kirekedhetnek a kommunikációból. A Blissymbol és a Zimmerman nyomtató lehetővé teszi, hogy a súlyos mozgáskorlátozott is – mint például egy bénult beteg -, tudjon kommunikálni! A felhasználó rögzíti gondolatait egy szimbólum megérintésével, melyet a program lefordít egy írott nyelvre. A Zimmerman-rendszer egy iskolai tudományos kiállításon indult, majd ezüstérmet nyert az országos versenyen. /A Bliss-nyelv megteremtõje Charles Kasiel Bliss. Charles Kasiel Bliss 1897-ben született az osztrákmagyar monarchiabeli Czernowitzban, és 1985-ben halt meg Ausztráliában, Sydneyben. 1971-ben egy torontói gyógypedagógus munkacsoport felfedezte Bliss jelképrendszerét. Azóta a munkacsoport nemzetközi intézetté fejlõdött. 1988-ban a világ 30 országában mintegy 60 000 ember használta a Bliss-nyelvet egyedüli kommunikációs lehetõségként. A Bliss nyelvet elsõsorban a gyógypedagógia, orvostudomány és pszichológia területén használják. /
Bette Nesmith Graham: A folyékony hibajavító
Grahamnak egy cégtábla javítót figyelve pattant ki fejéből az isteni szikra. Nézte, ahogy az ember újabb réteg festéket vitt fel a táblára, amivel elfedte a régi feliratot, és máris bekapcsolt az ötletelője, mi lenne ha ugyanezt papíron is meg lehetne valósítani. A háború alatt az írógépek szén-dioxidos film szalaggal működtek, ezért a hibákat nem lehetett radírra eltüntetni, mert csak maszatoltak. Bette titkárnőként dolgozott, jól tudta milyen gondot jelent egy-egy melléütés. Egy konyhai turmix gépben próbálta előállítani a tökéletes hibajavítót smink anyagokkal és vizes alapú fehér temperával, míg a sok kísérletezésének megkoronázásaként, 1958-ban megkapta rá a szabadalmat! 1967-re Bettenek saját vállalata és automatizált üzeme lett, az értékesítés meghaladta az egy millió darabot évente.
Alice H. Parker: A gázfűtésű kazán
1919-ben, Alice H. Parker, egy afro-amerikai nő ( Morristown, New Jersey), feltalált egy új és továbbfejlesztett gázfűtésű kazánt. Az általa tervezett rendszer képes volt szabályozni a hőmérsékletet az épületen belül, szobáról-szobára. Szabadalma nagyban megkönnyítette az emberek életét, hiszen nem kell fát vágni vagy szenet hordani ahhoz, hogy élvezhessük a lakás melegét, méghozzá egyenletesen. Forradalmasította a ma ismert központi fűtés rendszert.
Sarah E. Goode: A felhajtható ágy
Goode egy afro-amerikai nő volt, aki szabadalmi kérelmet adott be 1885-ben egy felhajtható ágyra. Az ágyat egy szekrénybe lehetett zárni, amikor nem volt használatban. Ez egy vonzó bútordarab volt, nem csak több funkciósságát tekintve, hanem mert mutatós dizájnnal rendelkezett. Tervezője ezzel tisztában volt, hiszen az övé volt a bútoráruház, ahol először piacra került. A bibliográfiák szerint Goode 1800 körül született mint amerikai rabszolga, és a polgárháború után felszabadították. Miután feltalálta az összecsukható ágyat, nem állt le a tervezéssel. Szép munkák kerültek ki még a kezei közül.
Martha Coston: Színes jelzőrakéták
Amikor Martha férje hirtelen elhunyt 1847-ben, felfedezett annak naplójában egy koncepciót a színes fáklyákra vonatkozóan. Innentől fogva 10 évet dolgozott tudósokkal és katonatisztekkel, hogy kikísérletezzék a hosszútávon világító fáklyát vagy tűzijátékot. Egy családi kirándulás alkalmával Martha megtekintett egy tűzijátékot, ami megihlette Őt, rájött hogyan építheti be terveibe a pirotechnikai dizájnt. Eredményeként a ma is ismeretes vörös-fehér-zöld “Pirotechnikai Éjjeli Jelző” (“Pyrotechnic Night Signal” ) kaptuk. Az amerikai haditengerészet megvásárolta Marthatól a jogokat a jelzőrendszerre. Azt mondják, a töredékét fizették csak annak amit valójában ért. Az Ő rendszerét fogadta el, és használta innentől fogva Franciaország, Olaszország, Dánia, Hollandia és Haiti is.
Dr. Ellen Ochoa: Optikai rendszer elemzés
Több, az űrrepülőgépen használható optikai rendszert (ellenőrzési, tárgyfelismerő, zajszűrő) szabadalmaztatott 1987-ben. Tudományos munkája során 35 mérnök munkáját irányította. Ellen az első latin-amerikai veterán űrhajós, aki négyszer teljesített űrszolgálatot minden alkalommal küldetésfelelősként. (Kétszer a Discovery, kétszer pedig az Atlantis űrhajó fedélzetén). Négy űrszolgálata alatt összesen 40 napot, 19 órát és 37 percet (979 óra) töltött a világűrben. Optikai elemzőjét használják a robotok által irányított iparágak több területén is. Ezt tökéletesítve, összesen három szabadalmát fogadták el, a legutóbbit 1990-ben.
Dr. Maria Telkes: Otthoni, napenergiával működő rendszer
A biofizikus, aki feltalálta az első hazai szolár rendszert, Magyarországon nőtt fel, és az Egyesült Államokba költözött 1925-ben. Telkes amerikai állampolgár lett, és csatlakozott a Westinghouse Electric kutatómérnökeként az energiaátalakítás területhez. Kutatási területe, a hőenergia elektromos energiává változtatása lett.
21 Csernus mondat, ami ébresztőt fúj a nőknek! Kattints ide érte!
Patricia Bath M.D.: Lézeres szürke hályog eltávolító készülék
Egy afro-amerikai, női orvos szabadalmaztatta 1988-ban, a szürke hályog eltávolítására hívatott új módszert. Az orvosi lézeres eszköz neve, az úgy nevezett szürke hályog Laserphacoprobe. Ezzel az eljárással sokkal pontosabban tudják lemetszetni a hályogot a szemről. Dr. Bath volt az első fekete női sebész, akit kinevezett UCLA 1975-ben. /A UCLA (University of California, Los Angeles) a világ egyik legismertebb iskolája. / A lézer tudós és feltaláló, 5 szabadalommal rendelkezik a lézeres szürke hályog műtéti eszközök témában, melyet az Egyesült Államokban, Kanadában, Japánban és Európában is használnak.
Ann Moore: Snugli ® babahordozó
Moore, a Béke Hadtestnél volt nővér az 1960-as években Nyugat-Afrikában. Megihlették Őt, az ottani benyomások arra, hogy megteremtse a Snugli ®-t, valamint más típusú speciális hordtáskákat. Látta, hogy az afrikai anyák magukon hordják babáikat. Szövet hevederekkel szorosan rögzítették a hátukon, ezért azt gondolta, hogy megpróbálja ugyanazt. De a kislányát nem tartotta rendesen a saját találmánya, mindig azt érezte, hogy kicsúszik. Hosszas kísérletezés után alkotta meg azt a hátizsákot, amely tökéletesen biztonságos és alkalmas volt a kicsi hordozására.
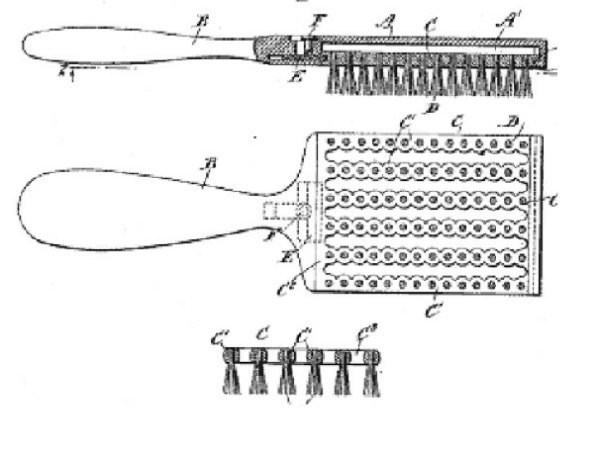
Lyda Newman: Továbbfejlesztett hajkefe
Bár Newman volt a hajkefe eredeti feltalálója is, ez a fejlesztés, jelentős mértékben hozzájárult a a kefék evolúciójához. Lyda egyébként kulcsszerepet játszott a hajápolási termékek fejlesztésében a 19.század végén, 20.század elején.
Patsy Sherman: Scotchgard ™ Stain víz-, és folttaszító
Sherman találmánya, a Scotchgard ™ , tulajdonképpen egy “boldog hiba” volt. A kutató vegyész, a 3M-el dolgozott 1953-ban. Egy laboratóriumi baleset fluorvegyületekkel vezetett el egy új felfedezéshez. Egy asszisztens véletlenül elesett egy üveg szintetikus latexszel, és Sherman fehér vászon teniszcipőjére fröcskölte. Az anyag nem változtatta meg a cipő kinézetét, de a legfontosabb, hogy taszítani kezdte a vizet, olajat és egyéb folyadékokat.
Marion Donovan: Eldobható pelenkák
A Saks Fifth Avenue-n debütált 1949-ben Donovan első sikeres találmánya, a “Boaters”. Egy egy vízálló baba pelenka borítás volt, amely megakadályozta a pelenka kiütést. Ezt megelőzően a gyártók nem tudták kikísérletezni ezt a fontos réteget, ezért elővette találékony szellemét, és megalkotta Ő maga az eldobható pelenkát. A piacra dobása után, 1951-ben eladta a jogokat a Keko Corporationsnak. Összesen 20 szabadalmat szerzett élete során, és egy építészeti diplomát a Yale Egyetemen 1958-ban. Bár Donovan rendkívüli élete nagyrészt nem a közönség előtt zajlott, a híres feltaláló asszony megérdemli a halhatatlan hálát az “új szülőktől” mindenhol a világban! 1961-ben, Victor Mills merített Donovan víziójából, és létrehozta Pampers ® néven, 1961-ben.
Ruth Wakefield: Toll House csokoládés sütemény
Ruth és férje, útszéli fogadót nyitottak Toll House Inn néven, ahol elkészítették saját kezűleg a vendégek ételeit is. Az asszony a szokásos csokoládés süteményét akarta megsütni, amikor rájött, hogy elfogyott az “ipari’ csokoládé, amit ehhez szokott használni. Hirtelen ötlettől vezérelve előkapta a Nestlé csokit a kamrából és azt keverte bele. Arra számított, hogy ugyanúgy elnyeli majd a tészta a csokoládét, ahogyan a másiknál megszokta. Ehelyett szilánkosan találta benne a csoki maradványokat amikor kivette őket a sütőjéből, és ezzel a 20.század híres feltaláló női között találta magát. Hirtelen tele lettek Toll House Crunch Cookie néven bemutatott sütijével az újságok. Ruth Wakefield úgy döntött, megkeresi Andrew Nestlét és felajánl neki egy megállapodást. Nestlé nyomtassa ki a Toll House Cookie receptet a csomagolásán, és Ő ezért egész életében ingyen kapja a Nestlé csokit tőle. Ennek a váratlan felfedezésnek köszönhetően, ez, a csokis süti lett a legnépszerűbb fajta cookie Amerikában, melynek népszerűsége mind a mai napig töretlen.
Barbara Askins: Új film előhívási módszer
Tanárként kezdte a karrierjét, de két gyermeke születése után visszaült az iskolapadba és miután megkapta főiskolai és egyetemi kémiai diplomáját, a NASA-nal helyezkedett el. Feladata az volt, hogy kutatásokat végezzenek, amivel javítani tudják az asztronómiai és geológiai fotók minőségét, melyeket az űrben készítenek. (ezek gyakran homályosak és hiányoznak róluk a definíciók) A megoldás, melyet ő kifejlesztett, nagyobb hatással lett a világra, mint azt bárki is gondolhatta volna. Rádióaktív anyagokkal fokozta a negatívok előhívását, sőt a már kész képek minőségét is javítani tudták vele. 1978-ban szabadalmaztatta találmányát, melyet az ügynökség is átvett tőle és kifejlesztették számos módját a használatának. Többek között röntgen-, és rossz minőségű képek javítására is használják.
Theora Stephens: Hajsütő vas
Az afro-amerikai fodrász és technikus, Theora Stephens szabadalmaztatta a hajsütővasat 1980-ban. Vajon miért ilyen későn, figyelembe véve, hogy a hajformázó eszközt már a korai görög civilizációban is használták? Számos kiemelkedő egyén járult hozzá a feltalálásához, különböző célokból tökéletesítgették a hajsütő vasat. Mielőtt árammal működött volna, tűzön melegítették, igazi kihívás volt vele dolgozni, hogy ne égesse szénné a hajat. Stephens az okból szabadalmaztatta végül, hogy különleges státuszát megőrizze a történelem számára.
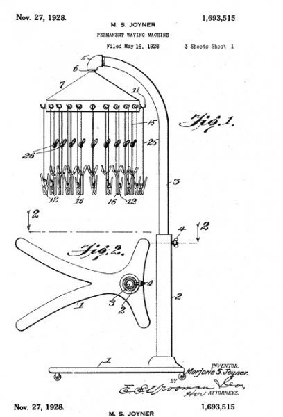
Marjorie Joyner: Tartós (haj) hullám gép
Joyner találta fel azt az eszközt, amely lehetővé tette, hogy a frizura ne csak egy napra maradjon meg. Létrehozott egy sapkát is, mellyel biztonságosabb és kényelmesebb a gép használata. Mivel rabszolgák unokája, Joyner lett az első afro-amerikai végzős diák a chicagói Beauty School-ban. 1916-ban nyitotta meg saját szalonját.
Sara Blakely: Spanx alsónemű
Self-made női milliárdos lett belőle, mert az amerikai álom létezik. Ő találta fel a Spanx elasztikus nadrágot, mely a nők karcsúságát hívatott előidézni. A 2012-es Forbes magazin címlapján díszelgett Blakely, aki akkor csatlakozott az elit csoporthoz, a mega-gazdag nőkhöz, olyanokhoz mint Oprah Winfrey vagy Meg Whiteman. Igen-igen, a bugyikával! A Spanx létrehozásakor Blakeynek egy 5000 $-os megtakarítása volt, ebből építette az 500 millió dolláros céget. Nem külföldi befektetőket kért fel, 100 %-ban tulajdonosa a saját cégének. Ezen kívül, soha nem költött egy fillért sem reklámra! A Spanx egy harisnya lábak nélkül, könnyű, sima, olyan mint egy második bőr. Forradalmi!
Temple Granding: Állattartási találmányok
Elképesztő, de a legtermékenyebb női feltaláló Dr. Temple Grandin, aki nagy lépéseket tett azért, hogy javítsa az állat tartási és szállítási helyzetet, a világhírű tanár, autista! Dr. Grandin tervező, az állatállomány tartó és kezelő-berendezések professzora az Animal Science Colorado State University-n. A jelenleg használatos felszereléseket Ő tervezte az Egyesült Államokban, Kanadában, Európában, Mexikóban, Ausztráliában, Új-Zélandon, és más országokban is. Amellett, hogy feltaláló és állat-kezelési szakértő, Dr. Grandin kiemelkedő szerző és szakértő az autizmus témájában. Engem annyira lenyűgözött a TED-en elhangzott : A világnak mindenféle elmére szüksége van c. előadása, hogy kép helyett ezt a videót vágom ide:
Patricia Billings: Geobond ®
Képzelj el egy olyan építőanyagot, ami elpusztíthatalan, tűzálló és nem mérgező. Úgy hangzik, mint valami sci-fi ugye? Valójában ez egy nagyon is valós találmány, melyet Patriciának köszönhetünk. Ez az úgynevezett Geobond ® . Patty Billings, a szobrász, kezdetben igyekezett létrehozni egy cement adalékot, hogy megakadályozza a szobrok sérülését földrengés idején, az 1970-es években. Miután évekig kísérletezett, végül célba ért, és feltalálta az elpusztíthatatlan vakolatot. Nem sokkal később, felfedezte, hogy az anyag meglepően ellenáll a hőnek is – ez megnyitotta az ajtót, hogy a több pályázatra is beadja a találmányát -. Mivel a Geobond ® nem mérgező, valamint elpusztíthatatlan és tűzálló, ez a világ első működőképes helyettesítő azbesztje. Míg Patricia Billing két szabadalmat is beadott munkájára, továbbra is visszatartja a Geobond ® titkos receptjét. A feltaláló és dédanyja remélik, hogy a találmány forradalmasítja az építőipart. Eközben visszautasította egy cég több millió dolláros ajánlatát, akik azért akarták megvenni, hogy eltemessék az új technológiát.
Dr.Giuliana Tesoro: 125 szabadalom a szerves vegyületek és textil feldolgozás területén
Dr. Tesoro kutató professzor a Brooklyn-i Műszaki Egyetemen, New Yorkban. Munkája és kutatásainak területe a textil feldolgozás, azon belül pedig annak tökéletesítése, hogy a felhalmozódó statikus és szintetikus szálak lángállóak és csúcsminőségűek legyenek. Tesoro eddig több mint 125 szabadalmat adott be és tudhat magáénak a szerves vegyületek és textil feldolgozás területén!
Ruth Handler: Barbie baba
Talán az egyik leghíresebb játék az amerikai történelemben a Barbie baba. A tervezője Ruth Handler és társalapítóként a Mattel játékcéget választotta. Miközben nézte a lányát és kis barátnőit ahogyan babáznak észrevette, hogy a jövőt játsszák el, nem a jelent. Azt tűzte ki, hogy kitalál egy felnőtt, három dimenziós babát, hogy a lányok azzal játszhassák el álmaikat. Ez persze azt is jelentette, hogy nőiesebbé gondolta a babát. Barbara lánya után, a Barbie becenevet adta találmányának.Később megalkotta férfi megfelelőjét, és fia után Ken-nek nevezte el.1959-ben debütált Barbie. A Mattel természetesen megittasodott a váratlan sikertől, mert ez az 500 legnagyobb amerikai ipar vállalat közé sorolta őket. Ez volt a Mattel addigi legsikeresebb éve. A mai napig is a Barbie a Mattel legkelendőbb terméke.
Mindig nézz szét a cikk alatti képes ajánlatok között is, és ha tetszett, oszd meg te is kérlek!
Szerző: Gini Papp – Zacc



































Kommentek
Kommenteléshez kérlek, jelentkezz be: